自動駕駛汽車需要多項輔助技術才得實現自我導航,本文解構自動駕駛汽車,帶大家看看這些技術如何合作發揮作用,以及它們的背後推手又是哪些公司。
圖片來源:CB Insight
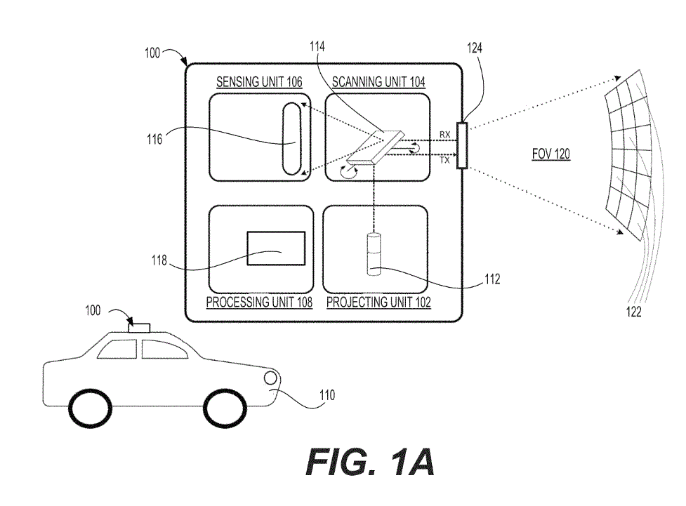
感知PERCEPTION
自動駕駛汽車(Autonomous vehicles, AV)必須能夠識別交通號誌與標誌、其他車輛、自行車和行人,另外還得偵測來物的距離與速度,才知如何反應,這些通常是靠攝像頭以及雷達和光達(LiDAR)等其他感測器蒐集資料,再利用「感測器融合」(sensor fusion)技術判讀,才能盡可能地準確感知車輛的周遭環境。
攝像頭與電腦視覺
自動駕駛汽車與配備先進駕駛輔助系統(ADAS)的汽車都會使用攝像頭。不像雷達與光達,攝像頭能夠辨識顏色與字體,有助偵測道路標誌、交通號誌及街道標誌,不過攝像頭偵測深度與距離的能力不如光達。
目前有不少開發車用攝像頭的新創公司,例如Light Lab Inc,致力研發具備光達精準度的攝像頭,這種攝像頭能整合全機16顆鏡頭攝得的影像,提取出高度精確的3D影像。
具備16顆鏡頭的 Light L16產品及其專利圖示(Source: Light Lab Inc)
為處理從攝像頭取得的資料,AV系統使用能夠偵測物體與號誌的電腦視覺軟體,辨識車道線的特定細節(例如標線顏色與圖案)以及評估合適的交通規則。
致力提升電腦視覺技術精確度與效率的新創公司有 DeepScale,他們利用深度神經網路來提高辨識能力,並可隨著時間改善錯誤率。
位在巴黎的Prophesee 則是開發出事件(event)導向型機器視覺,可以加速物體辨識並將資料超載情況降至最低。一般攝像頭的感測器為影格(frame)導向,從同一時間捕捉同一影像的像素採樣,並逐影格處理影像,而事件導向型感測器則是每個像素獨立採樣,可讓像素捕捉到以連續資訊流呈現的影像。傳統攝像頭逐影格處理影像時都會面臨資料負載的問題,但Prophesee的技術可以有效減少資料負載。
Source: Prophesee
光達
光達被認為是最先進的感測器,它的高精確性能夠產出車輛周遭環境的3D影像,加速物體偵測。光達技術使用紅外線感測器來判斷物體的距離,感測器以高速發射雷射光脈衝,然後測量光束返回所費時間。
光達技術可形成車輛周遭環境的3D影像(Source: Velodyne)
傳統的光達裝置利用多個旋轉器件捕捉車輛周遭環境的360°全景,這些器件開發成本昂貴,也不如固定器件穩定可靠,許多新創公司都在努力降低光達感測器的成本,同時維持高精準度,其中一個解決方案是固態光達,捨棄移動部件,實施成本較低。
以色列新創公司 Innoviz已開發出成本只需數百美元的固態光達技術,比Velodyne要價75,000美元的128線光達便宜許多。Innoviz已在4月公布與BMW和一階供應商Magna合作,要將他們的光達雷射掃描器部署在BMW的自動駕駛汽車。

Innoviz的光達裝置Innoviz Pro(Source: Innoviz)
Aeva開發的固態光達發射連續光波,而非傳統光達的個別雷射光束,偵測範圍據稱可達200公尺,成本只需數百美元。中國的速騰創聚也是開發固態光達,今年獲得阿里巴巴集團、上汽及北汽共計4330萬美元的融資,居中國光達公司之冠。
雷達
車用雷達藉由發射無線電波偵測來物的距離、範圍和速度。一般認為,雷達技術偵測範圍較大,而且不倚賴容易出錯的旋轉器件,因此比光達可靠,價格也便宜許多,所以雷達廣泛用於自動駕駛汽車以及ADAS。
Lunewave以1940年代開發成功的Luneburg天線為基礎,利用3D列印打造出偵測範圍更大、精準度更高天線。Metawave同樣也是在致力提升雷達功能,他們開發的類比天線使用超材料,速度更快,偵測範圍更大。
Metawave的雷達技術(Source: Metawave)
自動駕駛汽車開發商利用雷達與光達感測器來提升攝像頭的視覺能力,使用感測器融合技術來處理來自多個感測器的資料。
下一篇,將會各位介紹能讓車輛與其他連網裝置進行無線通訊的車聯網技術(vehicle-to-everything , V2X)也是許多新創公司熱衷的領域。












