2018年2月6日花蓮發生6.0強震,造成多棟大樓倒塌,失聯民眾一度多達百人,各地搜救單位立即投入搶救; 曾在311大地震受到台灣善心援助的日本,除了安倍首相發電文表示慰問之外,也派出配備高階生命探測器的七人專家隊伍親赴花蓮災害現場,希望在黃金救援72小時內,在毀損建築的瓦礫堆當中,搜尋生命跡象,協助救援,而搜救任務結束後,旋即回國。倒是留下令人深刻的印象,而生命探測器也一度成為近日受人關注的黑科技。
所謂生命探測器,就是探測生命徵象(英語:Vital signs)的儀器。也就是透過雷達波、紅外線、攝影機、高感度麥克風等感測器偵測包括了體溫、心跳、呼吸、活動聲響等生命徵象的儀器。
由於震災現場通常被碎石瓦礫阻隔,所以近期多採用兼具可穿越障礙物、精確度高等優點的超寬頻(Ultra-wideband; UWB)雷達波感測器作為高階生命探測器的重點發展功能。然而,超寬頻雷達波感測器已經發展相當長一段時間,例如從專利資訊即發現,早在1993年,就有一篇專利提出採用雷達偵測超寬頻脈衝波的反射波來偵測災難現場的活動。該專利並被1000多篇專利所引用。
圖一:US5361070 Ultra-Wideband Radar Motion Sensor
圖二:Citation Analysis of US5361070
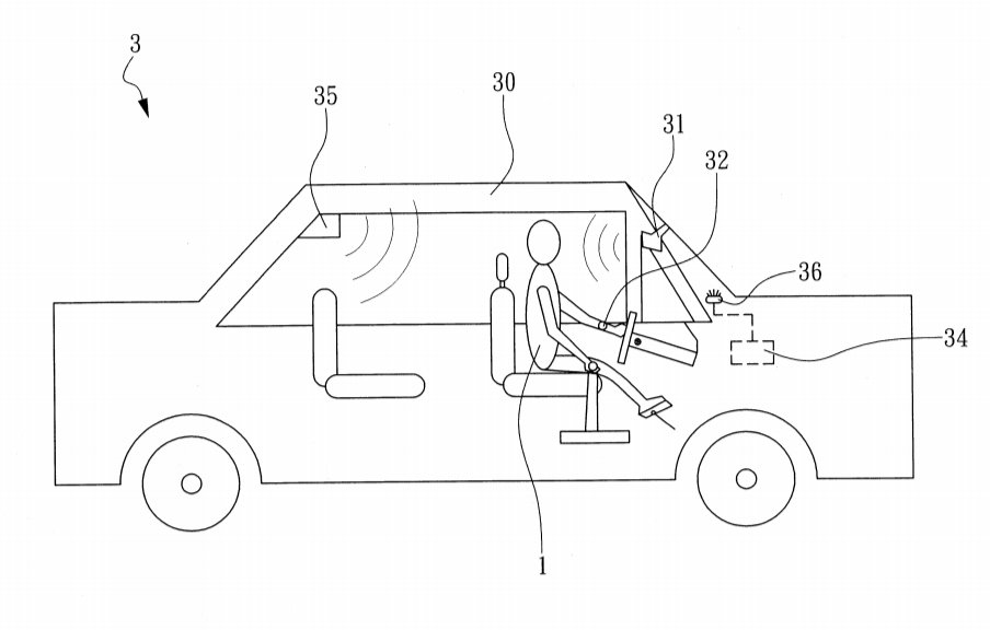
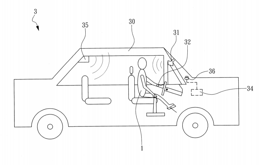
然而,從本次震災事件可以發現,高階生命探測器似乎仍未成為各地災害救援團隊的標準配備,必須要由外國支援,可見其技術發展雖然已久,但是並未脫離災害預防的情境,所以無法透過商業化大量生產而普及。所幸,隨著技術的進展,超寬頻雷達可在遠距以非接觸方式偵測生命徵象的功能,也逐漸應用在行動保全、居家照顧、車用電子等領域。如工研院也在2005年提出將超寬頻雷達應用在汽車領域作為駕駛者狀態監控的專利,其後更提出其他領域如穿戴醫療的應用。
期待透過科技的發展與擴散,讓高階生命探測器能夠更普及的運用到有需要的災區,及時搶救更多的生命。也期待未來台灣能夠掌握更多超寬頻雷達的技術,在防災之餘,讓行動保全、居家照顧、智慧型車等日常生活領域更便利。


