日本漫畫《深夜食堂》以一道道料理,帶出一段又一段人生故事,在食堂老闆的巧手下,料理不僅僅只是食物,而是慰藉人心的溫暖力量。不過,你能想像有天從門簾後面端出料理的會是個機器人嗎?
別說不可能,麥肯錫在2017年底發表的《工作的消失與崛起:自動化時代的勞動力轉移》( Jobs Lost, Jobs Gained: Workforce Transitions in a Time of Automation )報告中指出,可預測的體力勞動,自動化技術可行性高達78%,這類工作大多集中在製造業、餐飲住宿和零售業,其中排在首位的餐飲住宿行業,73%的後勤工作,例如準備食材、烹飪、上菜、清潔、洗碗等等,在技術上都完全可以自動化。
有人會反駁,烹飪是門藝術,廚師戲法巧妙各有不同。我們來看看台灣美食代表鼎泰豐如何做出征服全世界味蕾的美食。
鼎泰豐的招牌小籠包一律18摺,重21公克,店內到處都看得到溫度計和秤子。前廚工作台上師傅包好的小籠包,重量只能有0.2公克的誤差,包前的材料和包完的成品都要測量。每道菜出場送到客人餐桌前,外場人員也必須拿出筆型溫度計確認,比如元盅雞湯和酸辣湯的最佳溫度是85度,才不至於燙口,肉粽則必須提高到90度,確保豬肉塊熟透。為了徹底落實中華料理的標準化,鼎泰豐採取細膩分工,連絲瓜蝦仁小籠包要用的絲瓜,都有專人負責削皮。每個步驟都有標準規格,廚房員工就如工廠生產線上的作業員,每個人不停歇地做著份內事。
鼎泰豐並非餐飲業的特例,台灣另一家知名連鎖餐廳瓦城也是如此,光是一塊份月亮蝦餅,就要經過選蝦、製餡、拍打、酥炸等108道工序。為了突破東方菜系難以複製的問題,進而把泰菜規模化、連鎖化,瓦城建立「東方爐炒連鎖化系統」,先拆解研究、反覆試驗、建立標準流程(SOP)、熟悉流程,就可以複製成功經驗。
餐飲業若想規模化,甚至走向國際化,標準化是必經之路,因為目視和手感無法技轉,每個步驟要有標準規格,不同分店才有辦法供應品質口感一致的餐點與服務,而精準與標準化正是機器人的強項。目前已有餐飲業者成功研發出廚房機器人,準備率領機器人大軍,征服人類的胃,矽谷披薩外賣公司 Zume正是其中的佼佼者。
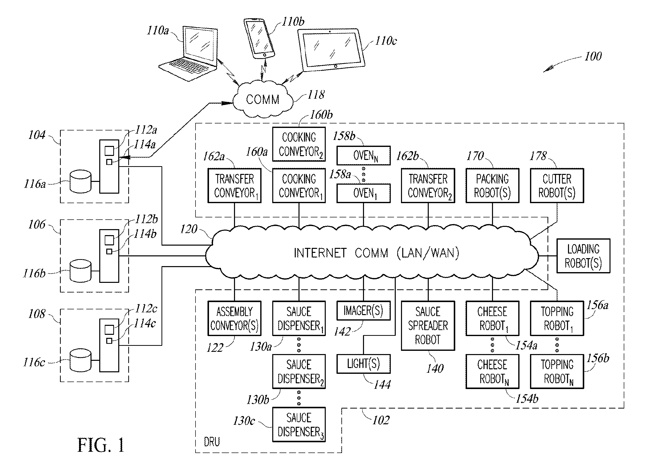
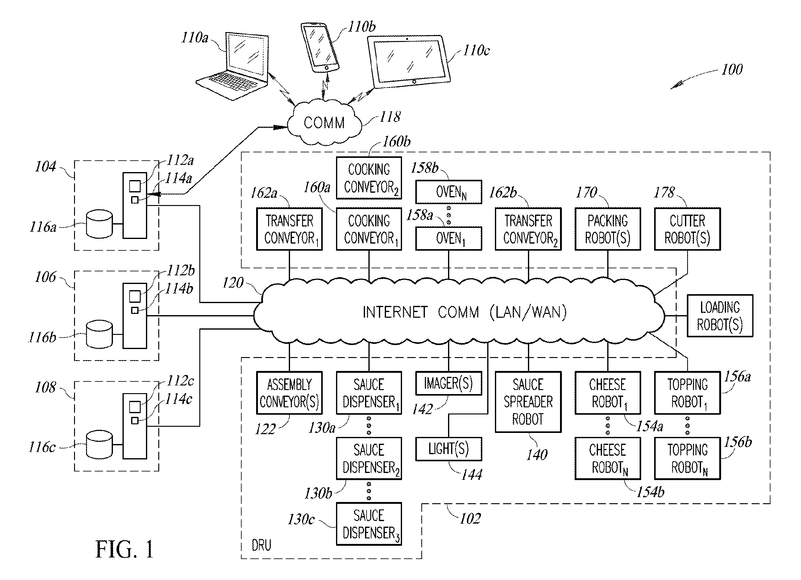
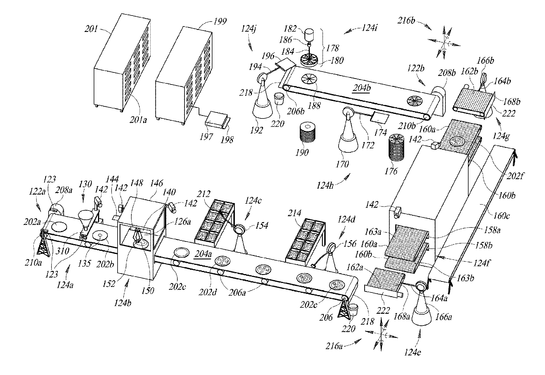
Zume 是2016 年在美國矽谷成立的一家新創公司,引進瑞士的工業機器人,製作披薩,平均 9 秒鐘就可製作一張餅皮,每小時能完成 372 個披薩。2018 年,Zume計劃擴張 26 個市場,向其他城市繼續推進,軟銀也已宣布投資7.5億美元。從Zume申請的專利,可以看出他們充分利用人類與機器的合作,大幅提升生產效率,而裝載自動化披薩烤爐的配送卡車,能夠在行進過程中根據訂單快速製作披薩,更是顛覆外賣產業的營運模式。
Zume這項發明主要是由輸送帶、機器人及烤箱組成的食品生產線,可在接到訂單後將半成品烹飪完成,生產線並可放入機架,置於運送車輛,在受控條件下獨力烹飪,並在到達消費者所在位置之前完成烹飪。
US20170290345A1 ON – DEMAND ROBOTIC FOOD ASSEMBLY AND RELATED SYSTEMS, DEVICES AND METHODS
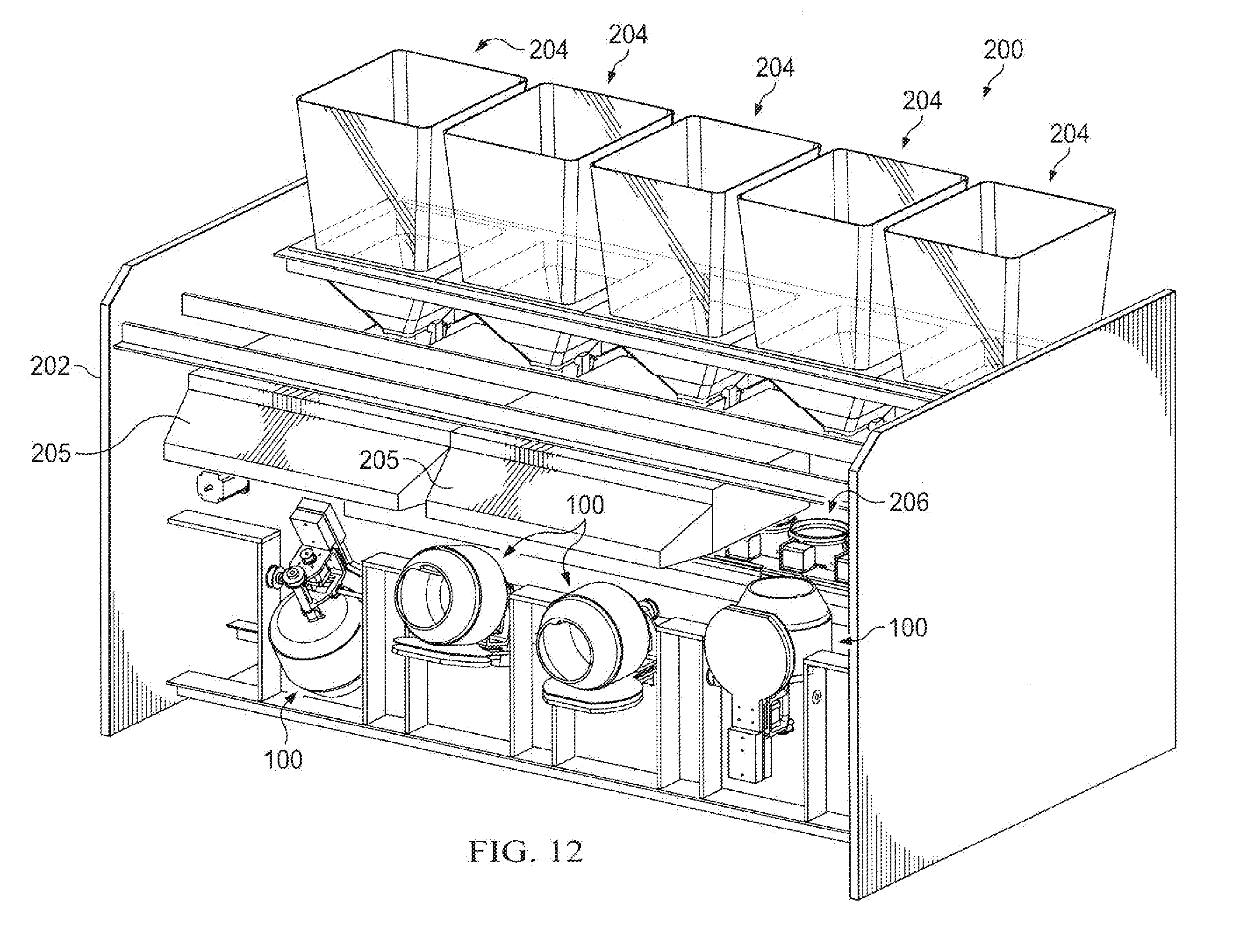
全球首家主打機器人主廚的餐廳Spyce,創辦人Daniel Boulud也認為料理始終需要人的元素,機器人的作用在輔助人類,負責處理繁重工作、高溫工作及洗碗等瑣事。
US20170172350A1 AUTOMATED MEAL PRODUCTION SYSTEM AND APPARATUS
在台灣也有類似的自動化技術,鹵豆集團的自動煮麵機能夠獨力完成整個烹調過程,堪稱獨當一面的廚師,顧客只要到販賣機前點餐,一分鐘後熱騰騰的湯麵就能出爐。
自動煮麵機的專利是一種自動麵食販賣機及其控制方法,利用旋轉臂將麵碗依序推送至不同機構,依序進行取麵、出麵、解凍、加熱、攪拌、注湯動作,最後完成具有湯汁的麵碗蒸煮。
這款自動煮麵智慧販賣機具備60秒現煮即食的特點,產品經過128道嚴苛品質控管與24小時全程冷鏈,機器也擁有全自動清潔系統,以及定時高溫紫外殺毒等功能。
你注意到了嗎?人類作主的廚房與機器人掌控的廚房,同樣注重標準流程的建立與精準落實,隨著機器人技術進步與日漸普及,未來餐廳的廚房肯定少不了機器人,甚至有可能取代人類主廚的地位。事實上現在英國已有公司研發出能夠製作精緻料理的機器人手臂,只要輸入食譜,連米其林美食也做得出來。
不只廚師,未來可能整家餐廳都是由機器人提供服務,目前美國與中國都已出現無人餐廳,從點餐到出餐、甚至做菜全是機器代勞,中國市場尤其熱鬧,馬雲的無人餐廳、盒馬機器人餐廳、京東的Joy’s智慧餐廳,都是萬眾矚目的觀察指標。
無人化會成為餐廳的未來嗎?技術層面似乎可行,不過目前業者傾向人類與機器人協作的模式,讓人類員工有更多時間從事更具創意的工作。人與機器偕同工作,提供快速而且品質穩定的料理,應是目前餐飲業最值得投資的技術領域。
希望瞭解如何應用專利情報追蹤各行業的技術發展趨勢與創新佈局應用嗎?歡迎報名參加11/2號所舉辦的「用大數據支持專利全生命週期的營運」高峰會
參考資料
〈鼎泰豐,你學不會〉,遠見雜誌2014年2月號
〈瓦城 一口吃下108道工序〉,天下雜誌622期
〈機器人做麵皮,Zume 餐車邊外送邊烤披薩〉,TechNews科技新報
〈自動煮麵機登台 熱騰騰拉麵60秒上桌〉,聯合新聞網
“The robots that are going to take your job and change your life”,WalesOnline
〈用效率餵飽顧客 這家店雇用的機器人每小時可完成372個披薩〉,智慧機器人網
“A Boston restaurant has replaced human chefs with robots — and it’s a glimpse into the future of dining”, Business Insider

圖片來源:


圖片來源:聯合新聞網